Маршрутизатор Mikrotik M33G with RouterOS L4 (RBM33G)

немає в наявності
Характеристики
Основні
Бренд
Mikrotik
Тип пристрою
Маршрутизатор
Інтерфейс підключення (LAN-порт)
3х10 / 100/1000
Вхід (WAN порт)
1x10 / 100/1000
Моніторинг та конфігурування
Веб-інтерфейс
RouterOS
Додатково
Живлення (PoE/адаптер)
+/-
Інше
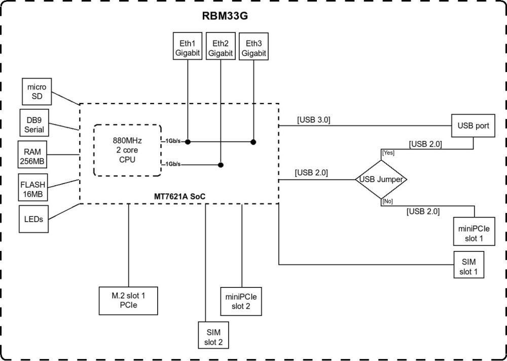
CPU MT7621, 880 MHz, 256 MB RAM, 16 MB storage.
Розміри (мм)
105х150х30
Відгуки
Залишити відгук
Фото та відео
Маршрутизатор Mikrotik M33G with RouterOS L4 (RBM33G)
немає в наявності
Ваш товар доданий до кошику