Маршрутизатор MikroTik Chateau LTE18 ax (S53UG+5HaxD2HaxD-TC&EG18-EA)

немає в наявності
Характеристики
Апаратна частина
Кількість ядер
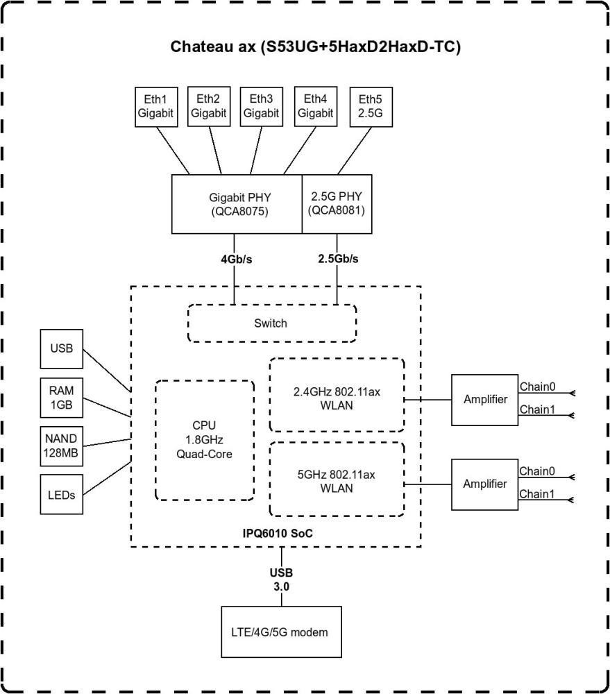
4
Обсяг Flash-пам'яті
128 MB
Оперативна пам'ять
1 GB
Процесор
Qualcomm IPQ-6010
Тактова частота процесора, ГГц
1,8
Бездротовий зв'язок
Максимальна швидкість з'єднання 2,4 ГГц, Мбіт/с
574
Максимальна швидкість з'єднання 5 ГГц, Мбіт/с
1200
Підтримка Multiple SSID
є
Робота в кількох діапазонах
Дводіапазонний (Dual band)
Стандарт
802.11ax (Wi-Fi 6)
Додатково
Інше
Cat.18 (1200/210 Мбіт/с), Micro SIM
Вбудований модем
є
Колір
білий
Напруга живлення, В
12-28
Режим моста
є
Розширені режими шифрування
WPA3
Маршрутизатор
Підтримка VPN (віртуальних мереж)
є
Моніторинг та конфігурування
Telnet
є
Веб-інтерфейс
є
Основні
Бренд
Mikrotik
Тип
Wi-Fi-маршрутизатор
Порти
USB 2.0
1хUSB 2.0
Інтерфейс підключення (LAN-порт)
4x10 / 100/1000
Вхід (WAN-порт)
1x10/100/1000/2500
Прийом/передача
802.11ac Wave 2
є
Beamforming
є
MU-MIMO
є
Кількість антен
2/4
Коефіцієнт посилення антени, дБи
3/6
Потужність передавача, дБм
20/21
Тип антени (внутр/зовн)
внутрішня / зовнішня
Фізичні характеристики
Розміри, мм
240x156x44
Відгуки
Залишити відгук
Фото та відео
Маршрутизатор MikroTik Chateau LTE18 ax (S53UG+5HaxD2HaxD-TC&EG18-EA)
немає в наявності
Ваш товар доданий до кошику